Introduction:
The handling and road behavior of a car largely depend on the wheel geometry. The term ‘wheel geometry’ refers to all wheel and steering knuckle positions discussed on this page. When designing a car, the wheel geometry is thoroughly checked. For example, when the first version of the Mercedes A-class was tested, it was discovered that this car could tip over during the slalom test. After these dramatic test results, the wheel positions and stabilizer effectiveness were adjusted until this baby-Benz was on par with larger vehicles. The stabilizer bar significantly influences the car’s road behavior, and it is described in a separate chapter.
Wheel Alignment:
It is important that all wheel positions are properly adjusted, such as toe and camber. After performing repairs, like replacing a tie rod or the (dis)assembly of a control arm or subframe, there is a high chance the alignment could be off. Even after a collision with another car or hitting a curb, the alignment might be incorrect. If the wheel visibly stands crooked under the car, there could be an issue with a bent control arm or tie rod. These parts will need replacement!
The car will then need to be aligned. The alignment is done on a special alignment bench, where a computer using sensors (mounted on the wheels) can precisely see the positions, allowing for exact adjustments. Every car brand and type has specific settings. Lowered cars also have different alignment values than similar cars with standard chassis.
The alignment values might not meet the target. They could be outside the tolerances. If the camber at the front cannot be corrected (remains in the red), it is likely that the shock absorber is bent. In a collision or after hitting a curb with a jolt, the weakest point of the McPherson suspension could get bent; the piston rod of the shock absorber. The steering knuckle (with the wheel bearing in it) may also become bent.
If alignment is not performed after repairing the suspension or a minor nudge against the curb, it will become noticeable in several ways:
- The steering wheel is crooked when driving straight.
- The car pulls to one side of the road and requires continuous steering correction.
- The directional stability is poor and changes direction with each bump.
- Excessive tire wear, often irregular: The inner side of the tire is 4mm and the outer side is bald.
Soon, a page will be available about the work involved in alignment…
The topics below provide an overview of all types of wheel positions that can be adjusted in (most) cars.

Toe:
Toe refers to the direction of both the front and rear wheels. It is adjustable by lengthening or shortening the tie rods on both sides. Space C in the image then becomes larger or smaller. Tie rod end F moves inwards or outwards, changing the wheel position.

If the wheels are turned slightly inward when stationary, it is called “toe-in,” and if they are turned outward, it is called “toe-out.” While driving, the wheels align perfectly straight. “Toe-in” and “toe-out” are also known as “Toe-In” and “Toe-Out.”
Rear-wheel-drive cars are adjusted to toe-in on the front axle. While driving, the wheels are pulled outward, aligning them straight. Front-wheel-drive cars are usually adjusted to toe-out. While driving, the wheels are drawn inward, aligning them straight. The tolerance is only a few degrees. The diagrams show it “exaggerated,” but in reality, it is not easily visible. Special alignment equipment is needed to observe this.

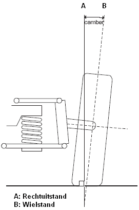
Camber:
Camber, or “sturz” in German, refers to the angle of the wheel relative to the road surface. Camber is measured from a line perpendicular to the horizontal road and expressed in degrees. Camber comes in two forms; positive camber and negative camber. With positive camber, the top of the wheel is farther out than the bottom (see image), while with negative camber, it’s the opposite; the top of the wheel is more inward than the bottom.
Negative camber improves cornering grip and stability. This is why lowered sports cars have more negative camber than cars with standard suspension. A wheel with negative camber tends to run inward and pushes the wheel inward. By adjusting both the left and right sides equally, the car maintains a straight path, though tire wear on the inner sides increases.

KPI (King Pin Inclination):
KPI, also known as steering axle inclination, is the angle between a line through the steering pivot points and a line perpendicular to the road. KPI and Caster (the next topic) cause the front wheels to align straight. This effect arises because the car is slightly lifted when the wheels are turned, due to the inclined pivot point. The car’s own weight ensures the wheels return to the straight position. Road impacts are also less forcefully transferred to the steering. When the KPI changes, the camber also changes.

Included Angle:
The included angle, also known as Included Angle or Gabelwinkel, is not a wheel position but complements existing concepts like KPI and Camber. It can be determined by summing the values of both angles.

Caster:
Caster, also known as steering axis inclination or trail, is the angle between the centerline through the steering pivot point B and a line perpendicular to the road through the axle center A. Caster is always positive.
Caster provides directional stability to the car because the wheel naturally wants to remain aligned in the direction of travel when driving straight. This is similar to a bicycle fork, which also leans forward. If the wheel were directly under the frame, a significant bump might cause loss of control. Even when reversing the bike’s handlebars, the steering will revert, with the wheel moving forward. The same principle applies to a car; placing the front wheels at a forward angle provides better handling, and the wheel will automatically steer back to the straight-ahead position while driving.
Modern car designs often use a large caster angle, offering the benefit of enhanced driving characteristics. A potential drawback of a large caster angle is heavier steering, but with modern power steering, this is not an issue.

Scrub Radius:
Scrub radius, also known as the steering scrub radius or Lenkrollradius, is the distance between the point where the centerline through the wheel touches the road (the wheel point) and the point where the line through the steering pivots meets the road (the steering point). The scrub radius determines how much the heights of the front wheels change when steering and is partly responsible for the car’s straight-line stability.
- If the steering pivot point (blue line) coincides with the wheel point (red line), the scrub radius is ‘0’. This is also called ‘neutral scrub radius’ or ‘centerpoint steering’.
- If the steering pivot point (blue line) is outside the wheel point (red line), the scrub radius is positive.
- If the steering pivot point (blue line) is inside the wheel point (red line), the scrub radius is negative.

Ackermann Principle:
In the images below, it is shown that lines from the front wheels converge at a common turning point. If the wheels were to turn at the same angle (both wheels turned at the exact same angle), the lines from the wheels would run parallel to infinity. They would never meet the common turning point M. Therefore, steering characteristics would be poor in this scenario.
This entire principle is called “outwards toe in a turn.” All modern cars are constructed with this feature. On smooth surfaces, such as a parking garage floor, tire squealing can be heard when steering. This occurs due to this principle. The inner wheel, which makes a larger steering angle than the outer wheel, will experience some slip.
When driving straight, all wheels are aligned straight. The extensions of the centerlines of the steering arms intersect at the midpoint of the rear axle.
In turns, the inner front wheel turns more than the outer one. This is because the steering arms are angled, causing the inner wheel to turn further. When the car is fully steered, the angled wheel position becomes clearly visible. This construction improves driving characteristics.
Steered Angle:
The steered angle of a vehicle can be calculated using several parameters of the car. Below is an image where angle b1 has been calculated. Calculating angle b2 is the next step.
On the page outwards toe in a turn, the calculation involving this image is explained in great detail.

Roll Center:
An important aspect of the suspension is the “roll center.” The location of the roll center plays a significant role in driving dynamics. The roll center’s position is determined by the stance of the control arms. This is a critical concept when designing a chassis. Lowering the vehicle also affects the roll center. Click here for more information on the roll center.